TP 6 / V-EC Schneide- und Biegemaschinen
dpvlink 5117

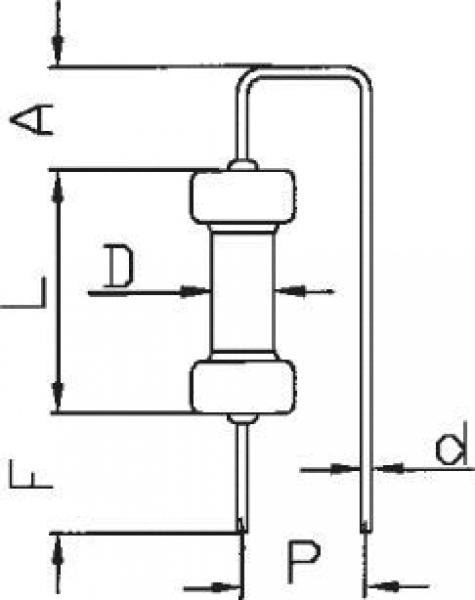
Schneide- und Biegemaschine für axiale Bauteile, stehende Montage

Mit der Schneide- und Biegemaschine TP 6/V-EC können gegurtete axiale Bauteile für die stehende Montage geschnitten und gebogen werden. Der robuste Aufbau der Maschine garantiert eine hohe Zuverlässigkeit. Es können Bauteile mit Anschlussdrähten bis zu einem Durchmesser von 0,8 mm verarbeitet werden. Für unterschiedliche Rastermaße werden unterschiedliche Biege­werkzeuge verwendet. Die Feineinstellung der Rastermaße erfolgt mittels Rändelschraube.

Technische Daten:

Leistung:

ca. 50.000 Bauteile / Std.

Abmessungen:

230 x 180 x 210 mm

Gewicht:

5 kg

 

Artikelbild
Artikelbezeichnung
Breite
Höhe
Länge
Abstand Bauteilkörper/Drahtende F
Abstand Oberseite Bauteilkörper/Biegung A
Drahtdurchmesser d
Durchmesser Bauteilkörper D
Gurtlochraster P
Länge Bauteilkörper L
Bauteile pro Std
Gewicht
Preis
Vergleichen
180 mm
210 mm
230 mm
3 - 8 mm
2 - 6 mm
0,5 - 0,8 mm
0,5 - 3 mm
2,54 mm
15 mm
50.000
5,0 kg
Vergleichsliste anzeigen (0)